Typ GO.
AVIT
BAUREIHE: S = Schwer
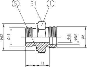
• Einschraubzapfen mit O-Ring Dichtung mit zylindrischem Whitworth Rohrgewinde nach ISO 228-1 oder metrischem Gewinde nach ISO 261
• Gewindezapfen mit 24° Konus nach ISO 8434-1
| Werkstoff, Oberflächen | Bestellcode |
| Stahl, verzinkt; NBR | 01 |
| Stahl, verzinkt; FKM | 02 |
| Stahl, phosphatiert; NBR | 04 |
| Stahl, phosphatiert; FKM | 05 |
| Edelstahl 1.4571; NBR | 41 |
| Edelstahl 1.4571; FKM | 42 |
| Reduzierte Nenn- / Gewindegröße | TYP R NG |
| Größere Nenn- / Gewindegröße | TYP G NG |
| Metrisches Gewinde (zylindrisch) | TYP M NG |
| Verschraubung mit Überwurfmutter und Schneidring | -SR |
| Verschraubung nur mit Überwurfmutter | -A |
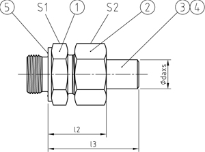
| PN | NG | ABMESSUNGEN [mm] | U-RING | GEWICHT | BESTELLCODE | CAD | ||||||||||
|---|---|---|---|---|---|---|---|---|---|---|---|---|---|---|---|---|
| DIMENSIONS | WEIGHT | ORDER CODE | DOWNLOAD | |||||||||||||
| [bar] | [mm] | d1 | d2 | d | di | i | l1 | l2 | l3 | S1 | S2 | Pos. 5 | [kg] | Pos. 1+5 | Pos. 1-5 | Pos. 1+5 |
| 800 | 10 | G 1/4 A | 22 | M18x1,5 | 5 | 12 | 15 | 32 | 48 | 22 | 22 | 15,0x2,0 | 0,053 | GOR 10 | GOR 10 daxs | |
| 800 | 10 | G 3/8 A | 24 | M18x1,5 | 7 | 12 | 16 | 33,5 | 50 | 24 | 22 | 17,0x1,5 | 0,068 | GOV 10 | GOV 10 daxs | |
| 800 | 10 | G 1/2 A | 30 | M18x1,5 | 7 | 14 | 19,5 | 37 | 53 | 32 | 22 | 22,0x2,0 | 0,125 | GOG 10 | GOG 10 daxs | |
| 630 | 12 | G 1/4 A | 22 | M20x1,5 | 5 | 12 | 15 | 33 | 49 | 22 | 24 | 15,0x2,0 | 0,056 | GOR 12 | GOR 12 daxs | |
| 630 | 12 | G 3/8 A | 24 | M20x1,5 | 8 | 12 | 16 | 34 | 50,5 | 24 | 24 | 17,0x1,5 | 0,075 | GOV 12 | GOV 12 daxs | |
| 630 | 12 | G 1/2 A | 30 | M20x1,5 | 8 | 14 | 19,5 | 37,5 | 53,5 | 32 | 24 | 22,0x2,0 | 0,08 | GOG 12 | GOG 12 daxs | |
| 630 | 16 | G 1/4 A | 22 | M24x1,5 | 5 | 12 | 17,5 | 38 | 59,5 | 27 | 30 | 15,0x2,0 | 0,087 | GOR 161 | GOR 161 daxs | |
| 630 | 16 | G 3/8 A | 24 | M24x1,5 | 8 | 12 | 18 | 38,5 | 60 | 27 | 30 | 17,0x1,5 | 0,089 | GOR 16 | GOR 16 daxs | |
| 630 | 16 | G 1/2 A | 30 | M24x1,5 | 12 | 14 | 20,5 | 41 | 62,5 | 32 | 30 | 22,0x2,0 | 0,121 | GOV 16 | GOV 16 daxs | |
| 630 | 16 | G 3/4 A | 40 | M24x1,5 | 12 | 16 | 22,5 | 43 | 64,5 | 41 | 30 | 29,8x2,6 | 0,23 | GOG 16 | GOG 16 daxs | |
| 630 | 16 | G 1 A | 46 | M24x1,5 | 12 | 18 | 23,5 | 44 | 65,5 | 46 | 30 | 34,5x2,6 | 0,26 | GOG 161 | GOG 161 daxs | |
| 420 | 20 | G 3/8 A | 24 | M30x2,0 | 8 | 12 | 20 | 44 | 67 | 32 | 36 | 17,0x1,5 | 0,137 | GOR 201 | GOR 201 daxs | |
| 420 | 20 | G 1/2 A | 30 | M30x2,0 | 12 | 14 | 20,5 | 44,5 | 67,5 | 32 | 36 | 22,0x2,0 | 0,152 | GOR 20 | GOR 20 daxs | |
| 420 | 20 | G 3/4 A | 40 | M30x2,0 | 15 | 16 | 22,5 | 46,5 | 70 | 41 | 36 | 29,8x2,6 | 0,246 | GOV 20 | GOV 20 daxs | |
| 420 | 20 | G 1 A | 46 | M30x2,0 | 15 | 18 | 23,5 | 47,5 | 70,5 | 46 | 36 | 34,5x2,6 | 0,33 | GOG 20 | GOG 20 daxs | |
| 420 | 20 | G 1 1/4 A | 54 | M30x2,0 | 15 | 20 | 25,5 | 49,5 | 72,5 | 55 | 36 | 43,0x3,0 | 0,35 | GOG 201 | GOG 201 daxs | |
| 420 | 25 | G 1/2 A | 30 | M36x2,0 | 12 | 14 | 23 | 50 | 77,5 | 41 | 46 | 22,0x2,0 | 0,255 | GOR 251 | GOR 251 daxs | |
| 420 | 25 | G 3/4 A | 40 | M36x2,0 | 15 | 16 | 23 | 50 | 77,5 | 41 | 46 | 29,8x2,6 | 0,29 | GOR 25 | GOR 25 daxs | |
| 420 | 25 | G 1 A | 46 | M36x2,0 | 19 | 18 | 24 | 51 | 78,5 | 46 | 46 | 34,5x2,6 | 0,35 | GOV 25 | GOV 25 daxs | |
| 420 | 25 | G 1 1/4 A | 54 | M36x2,0 | 19 | 20 | 26 | 53 | 80,5 | 55 | 46 | 43,0x3,0 | 0,42 | GOG 25 | GOG 25 daxs | |
| 420 | 25 | G 1 1/2 A | 60 | M36x2,0 | 19 | 22 | 27 | 54 | 81,5 | 60 | 46 | 49,0x3,0 | 0,752 | GOG 251 | GOG 251 daxs | |
| 420 | 30 | G 3/4 A | 40 | M42x2,0 | 15 | 16 | 24,5 | 53 | 82,5 | 46 | 50 | 29,8x2,6 | 0,353 | GOR 301 | GOR 301 daxs | |
| 420 | 30 | G 1 A | 46 | M42x2,0 | 19 | 18 | 24,5 | 53 | 82,5 | 46 | 50 | 34,5x2,6 | 0,389 | GOR 30 | GOR 30 daxs | |
| 420 | 30 | G 1 1/4 A | 54 | M42x2,0 | 24 | 20 | 26,5 | 55 | 84,5 | 55 | 50 | 43,0x3,0 | 0,556 | GOV 30 | GOV 30 daxs | |
| 420 | 30 | G 1 1/2 A | 60 | M42x2,0 | 24 | 22 | 26 | 53 | 80,5 | 60 | 50 | 49,0x3,0 | 0,704 | GOG 30 | GOG 30 daxs | |
| 420 | 30 | G 2 A | 75 | M42x2,0 | 24 | 24 | 27 | 54 | 81,5 | 75 | 50 | 61,0x3,5 | 1,172 | GOG 301 | GOG 301 daxs | |
| 420 | 38 | G 1 A | 46 | M52x2,0 | 19 | 18 | 26 | 58,5 | 91 | 55 | 60 | 34,5x2,6 | 0,587 | GOR 381 | GOR 381 daxs | |
| 420 | 38 | G 1 1/4 A | 54 | M52x2,0 | 24 | 20 | 26 | 58,5 | 91 | 55 | 60 | 43,0x3,0 | 0,601 | GOR 38 | GOR 38 daxs | |
| 420 | 38 | G 1 1/2 A | 60 | M52x2,0 | 30 | 22 | 27 | 59,5 | 92 | 60 | 60 | 49,0x3,0 | 0,719 | GOV 38 | GOV 38 daxs | |
| 420 | 38 | G 1 3/4 A | 68 | M52x2,0 | 30 | 24 | 27,5 | 56 | 85,5 | 70 | 60 | 55,0x3,0 | 1,131 | GOG 38 | GOG 38 daxs | |
| 420 | 38 | G 2 A | 75 | M52x2,0 | 30 | 24 | 31 | 59,5 | 89,5 | 75 | 60 | 61,0x3,5 | 1,31 | GOG 381 | GOG 381 daxs | |
| 420 | 50 | G 1 1/4 A | 54 | M68x2,0 | 24 | 20 | 31 | 70,5 | 99,5 | 70 | 80 | 43,0x3,0 | 1,004 | GOR 502 | GOR 502 daxs | |
| 420 | 50 | G 1 1/2 A | 60 | M68x2,0 | 30 | 22 | 31 | 70,5 | 99,5 | 70 | 80 | 49,0x3,0 | 1,128 | GOR 501 | GOR 501 daxs | |
| 420 | 50 | G 1 3/4 A | 68 | M68x2,0 | 38 | 24 | 31,5 | 71 | 100 | 70 | 80 | 55,0x3,0 | 1,131 | GOR 50 | GOR 50 daxs | |
| 420 | 50 | G 2 A | 75 | M68x2,0 | 40 | 24 | 32,5 | 72 | 101 | 75 | 80 | 61,0x3,5 | 1,258 | GOV 50 | GOV 50 daxs | |
| 800 | 10 | M14x1,5 | 22 | M18x1,5 | 5 | 12 | 15 | 32 | 48 | 22 | 22 | 15,0x2,0 | 0,053 | GORM 10 | GORM 10 daxs | |
| 800 | 10 | M16x1,5 | 24 | M18x1,5 | 7 | 12 | 15,5 | 32,5 | 48,5 | 24 | 22 | 17,0x1,5 | 0,068 | GOVM 10 | GOVM 10 daxs | |
| 800 | 10 | M18x1,5 | 24 | M18x1,5 | 7 | 12 | 16 | 33,5 | 49,5 | 24 | 22 | 18,0x1,5 | 0,125 | GOGM 10 | GOGM 10 daxs | |
| 630 | 12 | M16x1,5 | 24 | M20x1,5 | 7 | 12 | 15 | 33 | 49 | 24 | 24 | 17,0x1,5 | 0,065 | GORM 12 | GORM 12 daxs | |
| 630 | 12 | M18x1,5 | 24 | M20x1,5 | 8 | 12 | 16 | 34 | 50 | 24 | 24 | 18,0x1,5 | 0,075 | GOVM 12 | GOVM 12 daxs | |
| 630 | 12 | M22x1,5 | 30 | M20x1,5 | 8 | 14 | 19,5 | 37,5 | 53,5 | 32 | 24 | 22,0x2,0 | 0,08 | GOGM 12 | GOGM 12 daxs | |
| 630 | 16 | M16x1,5 | 24 | M24x1,5 | 7 | 12 | 17,5 | 38 | 59,5 | 27 | 30 | 17,0x1,5 | 0,087 | GORM 161 | GORM 161 daxs | |
| 630 | 16 | M18x1,5 | 24 | M24x1,5 | 8 | 12 | 18 | 38,5 | 60 | 27 | 30 | 18,0x1,5 | 0,094 | GORM 16 | GORM 16 daxs | |
| 630 | 16 | M22x1,5 | 30 | M24x1,5 | 12 | 14 | 21,5 | 42 | 63,5 | 32 | 30 | 22,0x2,0 | 0,142 | GOVM 16 | GOVM 16 daxs | |
| 630 | 16 | M27x2,0 | 40 | M24x1,5 | 12 | 16 | 22,5 | 43 | 64,5 | 41 | 30 | 29,8x2,6 | 0,23 | GOGM 16 | GOGM 16 daxs | |
| 630 | 16 | M33x2,0 | 46 | M24x1,5 | 12 | 18 | 23,5 | 44 | 65,5 | 46 | 30 | 34,5x2,6 | 0,26 | GOGM 161 | GOGM 161 daxs | |
| 420 | 20 | M18x1,5 | 24 | M30x2,0 | 8 | 12 | 20 | 44 | 67 | 32 | 36 | 18,0x1,5 | 0,137 | GORM 201 | GORM 201 daxs | |
| 420 | 20 | M22x1,5 | 30 | M30x2,0 | 12 | 14 | 20,5 | 44,5 | 67,5 | 32 | 36 | 22,0x2,0 | 0,157 | GORM 20 | GORM 20 daxs | |
| 420 | 20 | M27x2,0 | 40 | M30x2,0 | 15 | 16 | 22,5 | 46,5 | 69,5 | 41 | 36 | 29,8x2,6 | 0,237 | GOVM 20 | GOVM 20 daxs | |
| 420 | 20 | M33x2,0 | 46 | M30x2,0 | 15 | 18 | 23,5 | 47,5 | 70,5 | 46 | 36 | 34,5x2,6 | 0,33 | GOGM 20 | GOGM 20 daxs | |
| 420 | 20 | M42x2,0 | 54 | M30x2,0 | 15 | 20 | 25,5 | 49,5 | 72,5 | 55 | 36 | 43,0x3,0 | 0,35 | GOGM 201 | GOGM 201 daxs | |
| 420 | 25 | M22x1,5 | 30 | M36x2,0 | 12 | 14 | 23 | 50 | 77,5 | 41 | 46 | 22,0x2,0 | 0,255 | GORM 251 | GORM 251 daxs | |
| 420 | 25 | M27x2,0 | 40 | M36x2,0 | 15 | 16 | 23 | 50 | 77,5 | 41 | 46 | 29,8x2,6 | 0,276 | GORM 25 | GORM 25 daxs | |
| 420 | 25 | M33x2,0 | 46 | M36x2,0 | 19 | 18 | 24 | 60 | 78,5 | 46 | 46 | 34,5x2,6 | 0,338 | GOVM 25 | GOVM 25 daxs | |
| 420 | 25 | M42x2,0 | 54 | M36x2,0 | 19 | 20 | 26 | 53 | 80,5 | 55 | 46 | 43,0x3,0 | 0,42 | GOGM 25 | GOGM 25 daxs | |
| 420 | 25 | M48x2,0 | 60 | M36x2,0 | 19 | 22 | 27 | 54 | 81,5 | 60 | 46 | 49,0x3,0 | 0,752 | GOGM 251 | GOGM 251 daxs | |
| 420 | 30 | M27x2,0 | 40 | M42x2,0 | 15 | 16 | 24,5 | 53 | 82,5 | 46 | 55 | 29,8x2,6 | 0,368 | GORM 301 | GORM 301 daxs | |
| 420 | 30 | M33x2,0 | 46 | M42x2,0 | 19 | 18 | 24,5 | 53 | 82,5 | 46 | 55 | 34,5x2,6 | 0,39 | GORM 30 | GORM 30 daxs | |
| 420 | 30 | M42x2,0 | 54 | M42x2,0 | 24 | 20 | 26,5 | 55 | 84,5 | 55 | 55 | 43,0x3,0 | 0,508 | GOVM 30 | GOVM 30 daxs | |
| 420 | 30 | M48x2,0 | 60 | M42x2,0 | 24 | 22 | 27,5 | 56 | 85,5 | 60 | 55 | 49,0x3,0 | 0,704 | GOGM 30 | GOGM 30 daxs | |
| 420 | 30 | M60x2,0 | 75 | M42x2,0 | 24 | 24 | 31 | 59,5 | 89 | 75 | 55 | 61,0x3,5 | 1,172 | GOGM 301 | GOGM 301 daxs | |
| 420 | 38 | M33x2,0 | 46 | M52x2,0 | 19 | 18 | 26 | 58,5 | 91 | 55 | 60 | 34,5x2,6 | 0,587 | GORM 381 | GORM 381 daxs | |
| 420 | 38 | M42x2,0 | 54 | M52x2,0 | 24 | 20 | 26 | 58,5 | 91 | 55 | 60 | 43,0x3,0 | 0,601 | GORM 38 | GORM 38 daxs | |
| 420 | 38 | M48x2,0 | 60 | M52x2,0 | 30 | 22 | 27 | 59,5 | 92 | 60 | 60 | 49,0x3,0 | 0,724 | GOVM 38 | GOVM 38 daxs | |
| 420 | 38 | M50x2,0 | 68 | M52x2,0 | 30 | 24 | 29,5 | 62 | 94,5 | 70 | 60 | 55,0x3,0 | 1,131 | GOGM 38 | GOGM 38 daxs | |
| 420 | 38 | M60x2,0 | 75 | M52x2,0 | 30 | 24 | 30,5 | 63 | 95,5 | 75 | 60 | 61,0x3,5 | 1,31 | GOGM 381 | GOGM 381 daxs | |
| 420 | 50 | M48x2,0 | 60 | M68x2,0 | 30 | 22 | 31 | 70,5 | 99,5 | 70 | 80 | 49,0x3,0 | 1,128 | GORM 501 | GORM 501 daxs | |
| 420 | 50 | M50x2,0 | 68 | M68x2,0 | 38 | 24 | 31,5 | 71 | 100 | 70 | 80 | 55,0x3,0 | 1,131 | GORM 50 | GORM 50 daxs | |
| 420 | 50 | M60x2,0 | 75 | M68x2,0 | 40 | 24 | 32,5 | 72 | 101 | 75 | 80 | 61,0x3,5 | 1,258 | GOVM 50 | GOVM 50 daxs | |



