Typ GU.M
AVIT ≈ ISO 8434-1 – SDS Typ E
BAUREIHE: L = Leicht / S = Schwer
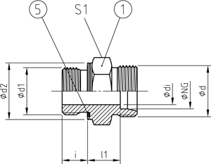
Einschraubzapfen mit U-Ring Dichtung (ED) und zylindrischem Whitworth Rohrgewinde nach ISO 1179-2 (Typ GU.) oder metrischem Gewinde nach ISO 9974-2 (Typ GU.M)
| Werkstoff, Oberflächen | Bestellcode |
| Stahl, verzinkt; NBR | 01 |
| Stahl, verzinkt; FKM | 02 |
| Stahl, phosphatiert; NBR | 04 |
| Stahl, phosphatiert; FKM | 05 |
| Edelstahl 1.4571; NBR | 41 |
| Edelstahl 1.4571; FKM | 42 |
| Reduzierte Nenn- / Gewindegröße | TYP R NG |
| Größere Nenn- / Gewindegröße | TYP G NG |
| Metrisches Gewinde (zylindrisch) | TYP M NG |
| Verschraubung mit Überwurfmutter und Schneidring | -SR |
| Verschraubung nur mit Überwurfmutter | -A |
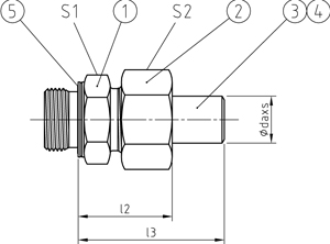
| REIHE | PN | NG | ABMESSUNGEN [mm] | U-RING | GEWICHT | BESTELLCODE | CAD | ||||||||||
|---|---|---|---|---|---|---|---|---|---|---|---|---|---|---|---|---|---|
| SERIE | DIMENSIONS | WEIGHT | ORDER CODE | DOWNLOAD | |||||||||||||
| [bar] | [mm] | d1 | d2 | d | di | i | l1 | l2 | l3 | S1 | S2 | Pos. 5 | [kg] | Pos. 1+5 | Pos. 1-5 | Pos. 1+5 | |
| L | 420 | 15 | M16x1,5 | 21,9 | M22x1,5 | 9 | 15 | 32,5 | 51,5 | 12 | 24 | 27 | 13,8x18,9x1,5 | 0,06 | GURM 15 | GURM 15 daxs | |
| L | 420 | 15 | M18x1,5 | 23,9 | M22x1,5 | 11 | 14 | 31,5 | 50,5 | 12 | 24 | 27 | 15,7x20,9x1,5 | 0,056 | GUVM 15 | GUVM 15 daxs | |
| L | 420 | 15 | M22x1,5 | 26,9 | M22x1,5 | 12 | 16 | 33,5 | 52,5 | 14 | 27 | 27 | 19,6x24,3x1,5 | 0,056 | GUGM 15 | GUGM 15 daxs | |
| L | 420 | 18 | M18x1,5 | 23,9 | M26x1,5 | 9 | 15 | 34 | 54 | 12 | 27 | 32 | 15,7x20,9x1,5 | 0,076 | GURM 18 | GURM 18 daxs | |
| L | 420 | 18 | M22x1,5 | 26,9 | M26x1,5 | 14 | 14,5 | 33,5 | 53,5 | 14 | 27 | 32 | 19,6x24,3x1,5 | 0,079 | GUVM 18 | GUVM 18 daxs | |
| L | 420 | 18 | M26x1,5 | 31,9 | M26x1,5 | 15 | 16,5 | 35,5 | 55,5 | 16 | 32 | 32 | 23,9x29,2x1,5 | 0,082 | GUGM 18 | GUGM 18 daxs | |
| L | 250 | 22 | M22x1,5 | 26,9 | M30x2,0 | 14 | 18,5 | 36,5 | 57,5 | 14 | 32 | 36 | 19,6x24,3x1,5 | 0,126 | GURM 22 | GURM 22 daxs | |
| L | 250 | 22 | M26x1,5 | 31,9 | M30x2,0 | 18 | 16,5 | 35 | 55,5 | 16 | 32 | 36 | 23,9x29,2x1,5 | 0,127 | GUVM 22 | GUVM 22 daxs | |
| L | 250 | 22 | M33x2,0 | 39,9 | M30x2,0 | 19 | 19,5 | 38 | 59 | 18 | 41 | 36 | 29,7x35,7x2,0 | 0,128 | GUGM 22 | GUGM 22 daxs | |
| L | 250 | 28 | M26x1,5 | 31,9 | M36x2,0 | 18 | 19,5 | 39 | 62,5 | 16 | 41 | 41 | 23,9x29,2x1,5 | 0,182 | GURM 28 | GURM 28 daxs | |
| L | 250 | 28 | M33x2,0 | 39,9 | M36x2,0 | 23 | 17,5 | 37 | 60,5 | 18 | 41 | 41 | 29,7x35,7x2,0 | 0,175 | GUVM 28 | GUVM 28 daxs | |
| L | 250 | 28 | M42x2,0 | 49,9 | M36x2,0 | 24 | 21,5 | 41 | 64,5 | 20 | 50 | 41 | 38,8x45,8x2,0 | 0,192 | GUGM 28 | GUGM 28 daxs | |
| L | 250 | 35 | M33x2,0 | 39,9 | M45x2,0 | 23 | 19,5 | 44 | 70,5 | 18 | 46 | 50 | 29,7x35,7x2,0 | 0,269 | GURM 35 | GURM 35 daxs | |
| L | 250 | 35 | M42x2,0 | 49,9 | M45x2,0 | 30 | 17,5 | 42 | 68,5 | 20 | 50 | 50 | 38,8x45,8x2,0 | 0,291 | GUVM 35 | GUVM 35 daxs | |
| L | 250 | 35 | M48x2,0 | 54,9 | M45x2,0 | 30 | 21,5 | 46 | 72,5 | 22 | 55 | 50 | 44,7x50,7x2,0 | 0,032 | GUGM 35 | GUGM 35 daxs | |
| L | 250 | 42 | M33x2,0 | 39,9 | M52x2,0 | 23 | 21 | 45,5 | 72 | 18 | 55 | 60 | 29,7x35,7x2,0 | 0,384 | GURM 421 | GURM 421 daxs | |
| L | 250 | 42 | M42x2,0 | 49,9 | M52x2,0 | 30 | 21 | 45,5 | 72 | 20 | 55 | 60 | 38,8x45,8x2,0 | 0,474 | GURM 42 | GURM 42 daxs | |
| L | 250 | 42 | M48x2,0 | 54,9 | M52x2,0 | 36 | 19 | 43,5 | 70 | 22 | 55 | 60 | 44,7x50,7x2,0 | 0,371 | GUVM 42 | GUVM 42 daxs | |
| S | 800 | 10 | M14x1,5 | 18,9 | M18x1,5 | 5 | 15 | 32,5 | 48,5 | 12 | 19 | 22 | 11,6x16,5x1,5 | 0,042 | GURM 10 | GURM 10 daxs | |
| S | 800 | 10 | M16x1,5 | 21,9 | M18x1,5 | 7 | 15 | 32,5 | 48,5 | 12 | 22 | 22 | 13,8x18,9x1,5 | 0,062 | GUVM 10 | GUVM 10 daxs | |
| S | 800 | 10 | M18x1,5 | 23,9 | M18x1,5 | 7 | 16 | 33,5 | 49,5 | 12 | 24 | 22 | 15,7x20,9x1,5 | 0,074 | GUGM 10 | GUGM 10 daxs | |
| S | 630 | 12 | M16x1,5 | 21,9 | M20x1,5 | 7 | 14,5 | 32,5 | 48,5 | 12 | 22 | 24 | 13,8x18,9x1,5 | 0,058 | GURM 12 | GURM 12 daxs | |
| S | 630 | 12 | M18x1,5 | 23,9 | M20x1,5 | 8 | 17 | 35 | 51,5 | 12 | 24 | 24 | 15,7x20,9x1,5 | 0,075 | GUVM 12 | GUVM 12 daxs | |
| S | 630 | 12 | M22x1,5 | 26,9 | M20x1,5 | 8 | 17,5 | 35,5 | 51,5 | 14 | 27 | 24 | 19,6x24,3x1,5 | 0,082 | GUGM 12 | GUGM 12 daxs | |
| S | 630 | 16 | M16x1,5 | 21,9 | M24x1,5 | 7 | 17,5 | 38 | 59,5 | 12 | 27 | 30 | 13,8x18,9x1,5 | 0,091 | GURM 161 | GURM 161 daxs | |
| S | 630 | 16 | M18x1,5 | 23,9 | M24x1,5 | 8 | 18 | 38,5 | 60,5 | 12 | 27 | 30 | 15,7x20,9x1,5 | 0,096 | GURM 16 | GURM 16 daxs | |
| S | 630 | 16 | M22x1,5 | 26,9 | M24x1,5 | 12 | 18,5 | 39 | 60,5 | 14 | 27 | 30 | 19,6x24,3x1,5 | 0,101 | GUVM 16 | GUVM 16 daxs | |
| S | 630 | 16 | M27x2,0 | 31,9 | M24x1,5 | 12 | 20,5 | 41 | 62,5 | 16 | 32 | 30 | 23,9x29,2x1,5 | 0,144 | GUGM 16 | GUGM 16 daxs | |
| S | 630 | 16 | M33x2,0 | 39,9 | M24x1,5 | 12 | 22,5 | 43 | 64,5 | 18 | 41 | 30 | 29,7x35,7x2,0 | 0,251 | GUGM 161 | GUGM 161 daxs | |
| S | 420 | 20 | M18x1,5 | 23,9 | M30x2,0 | 8 | 20 | 44 | 66,5 | 12 | 32 | 36 | 15,7x20,9x1,5 | 0,149 | GURM 201 | GURM 201 daxs | |
| S | 420 | 20 | M22x1,5 | 26,9 | M30x2,0 | 12 | 20,5 | 44,5 | 67 | 14 | 32 | 36 | 19,6x24,3x1,5 | 0,154 | GURM 20 | GURM 20 daxs | |
| S | 420 | 20 | M27x2,0 | 31,9 | M30x2,0 | 15 | 20,5 | 44,5 | 67 | 16 | 32 | 36 | 23,9x29,2x1,5 | 0,166 | GUVM 20 | GUVM 20 daxs | |
| S | 420 | 20 | M33x2,0 | 39,9 | M30x2,0 | 15 | 22,5 | 46,5 | 69 | 18 | 41 | 36 | 29,7x35,7x2,0 | 0,29 | GUGM 20 | GUGM 20 daxs | |
| S | 420 | 20 | M42x2,0 | 49,9 | M30x2,0 | 15 | 24,5 | 48,5 | 71,5 | 20 | 50 | 36 | 38,8x45,8x2,0 | 0,435 | GUGM 201 | GUGM 201 daxs | |
| S | 420 | 25 | M22x1,5 | 26,9 | M36x2,0 | 12 | 23 | 50 | 77,5 | 14 | 41 | 46 | 19,6x24,3x1,5 | 0,258 | GURM 251 | GURM 251 daxs | |
| S | 420 | 25 | M27x2,0 | 31,9 | M36x2,0 | 15 | 23 | 50 | 77,5 | 16 | 41 | 46 | 23,9x29,2x1,5 | 0,27 | GURM 25 | GURM 25 daxs | |
| S | 420 | 25 | M33x2,0 | 39,9 | M36x2,0 | 19 | 23 | 50 | 77,5 | 18 | 41 | 46 | 29,7x35,7x2,0 | 0,288 | GUVM 25 | GUVM 25 daxs | |
| S | 420 | 25 | M42x2,0 | 49,9 | M36x2,0 | 19 | 25 | 52 | 79,5 | 20 | 50 | 46 | 38,8x45,8x2,0 | 0,495 | GUGM 25 | GUGM 25 daxs | |
| S | 420 | 25 | M48x2,0 | 54,9 | M36x2,0 | 19 | 26 | 53 | 80,5 | 22 | 55 | 46 | 44,7x50,7x2,0 | 0,66 | GUGM 251 | GUGM 251 daxs | |
| S | 420 | 30 | M27x2,0 | 31,9 | M42x2,0 | 15 | 24,5 | 53 | 82,5 | 16 | 46 | 50 | 23,9x29,2x1,5 | 0,36 | GURM 301 | GURM 301 daxs | |
| S | 420 | 30 | M33x2,0 | 39,9 | M42x2,0 | 19 | 24,5 | 53 | 82,5 | 18 | 46 | 50 | 29,7x35,7x2,0 | 0,38 | GURM 30 | GURM 30 daxs | |
| S | 420 | 30 | M42x2,0 | 49,9 | M42x2,0 | 24 | 23,5 | 52 | 81,5 | 20 | 50 | 50 | 38,8x45,8x2,0 | 0,452 | GUVM 30 | GUVM 30 daxs | |
| S | 420 | 30 | M48x2,0 | 54,9 | M42x2,0 | 24 | 26,5 | 55 | 84,5 | 22 | 55 | 50 | 44,7x50,7x2,0 | 0,641 | GUGM 30 | GUGM 30 daxs | |
| S | 420 | 30 | M60x2,0 | 69,9 | M42x2,0 | 24 | 30,5 | 59 | 88,5 | 24 | 70 | 50 | 56,1x62,7x2,5 | 0,689 | GUGM 301 | GUGM 301 daxs | |
| S | 420 | 38 | M33x2,0 | 39,9 | M52x2,0 | 19 | 26 | 58,5 | 91 | 18 | 55 | 60 | 29,7x35,7x2,0 | 0,579 | GURM 381 | GURM 381 daxs | |
| S | 420 | 38 | M42x2,0 | 49,9 | M52x2,0 | 24 | 26 | 58,5 | 91 | 20 | 55 | 60 | 38,8x45,8x2,0 | 0,626 | GURM 38 | GURM 38 daxs | |
| S | 420 | 38 | M48x2,0 | 54,9 | M52x2,0 | 30 | 26 | 58,5 | 91 | 22 | 55 | 60 | 44,7x50,7x2,0 | 0,632 | GUVM 38 | GUVM 38 daxs | |
| S | 420 | 38 | M50x2,0 | 59,9 | M52x2,0 | 30 | 27,5 | 60 | 92,5 | 24 | 60 | 60 | 50,4x56,7x2,5 | 0,816 | GUGM 38 | GUGM 38 daxs | |
| S | 420 | 38 | M60x2,0 | 69,9 | M52x2,0 | 30 | 30 | 62,5 | 95 | 24 | 70 | 60 | 56,1x62,7x2,5 | 1,171 | GUGM 381 | GUGM 381 daxs | |
| S | 420 | 50 | M48x2,0 | 54,9 | M68x2,0 | 30 | 31 | 70,5 | 99,5 | 22 | 70 | 80 | 44,7x50,7x2,0 | 1,132 | GURM 501 | GURM 501 daxs | |
| S | 420 | 50 | M50x2,0 | 59,9 | M68x2,0 | 33 | 31,5 | 71 | 100 | 22 | 70 | 80 | 50,4x56,7x2,5 | 1,13 | GURM 50 | GURM 50 daxs | |
| S | 420 | 50 | M60x2,0 | 69,9 | M68x2,0 | 40 | 32 | 71,5 | 100,5 | 24 | 70 | 80 | 56,1x62,7x2,5 | 1,155 | GUVM 50 | GUVM 50 daxs | |
Auch mit zylindrischem Whitworth Rohrgewinde nach ISO 1179-2 (Typ GU.) erhältlich. Metrische Einschraubzapfen werden zur Identifikation mit einer umlaufenden Kerbe gekennzeichnet.
Also available with cylindrical Whitworth pipe thread to ISO 1179-2 (type GU.) Metric stud ends are marked with a circumferential groove for identification.



