Typ GE.M
AVIT ≈ ISO 8434-1 – SDS Typ B
BAUREIHE: L = Leicht / S = Schwer
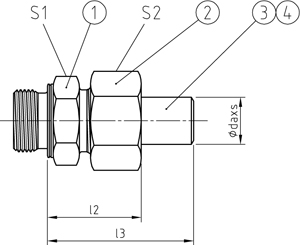
Einschraubzapfen mit metallischer Dichtkante und metrischem Gewinde nach ISO 9974-3 (Typ GE.M)
| Werkstoff, Oberflächen | Bestellcode |
| Stahl, verzinkt; NBR | 01 |
| Stahl, verzinkt; FKM | 02 |
| Stahl, phosphatiert; NBR | 04 |
| Stahl, phosphatiert; FKM | 05 |
| Edelstahl 1.4571; NBR | 41 |
| Edelstahl 1.4571; FKM | 42 |
| Reduzierte Nenn- / Gewindegröße | TYP R NG |
| Größere Nenn- / Gewindegröße | TYP G NG |
| Metrisches Gewinde (zylindrisch) | TYP M NG |
| Verschraubung mit Überwurfmutter und Schneidring | -SR |
| Verschraubung nur mit Überwurfmutter | -A |
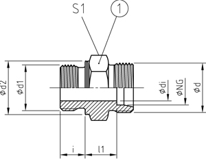
| REIHE | PN | NG | ABMESSUNGEN [mm] | GEWICHT | BESTELLCODE | CAD | ||||||||||
|---|---|---|---|---|---|---|---|---|---|---|---|---|---|---|---|---|
| SERIE | DIMENSIONS | WEIGHT | ORDER CODE | DOWNLOAD | ||||||||||||
| [bar] | [mm] | d1 | d2 | d | di | i | l1 | l2 | l3 | S1 | S2 | [kg] | Pos. 1 | Pos. 1-4 | ||
| L | 420 | 15 | M16x1,5 | 21 | M22x1,5 | 9 | 12 | 15 | 32,5 | 51,5 | 24 | 27 | 0,058 | GERM 15 | GERM 15 daxs | |
| L | 420 | 15 | M18x1,5 | 23 | M22x1,5 | 11 | 12 | 14 | 31,5 | 50,5 | 24 | 27 | 0,056 | GEVM 15 | GEVM 15 daxs | |
| L | 420 | 15 | M22x1,5 | 27 | M22x1,5 | 12 | 14 | 16 | 33,5 | 52,5 | 27 | 27 | 0,083 | GEGM 15 | GEGM 15 daxs | |
| L | 420 | 18 | M18x1,5 | 23 | M26x1,5 | 9 | 12 | 15 | 34 | 54 | 27 | 32 | 0,077 | GERM 18 | GERM 18 daxs | |
| L | 420 | 18 | M22x1,5 | 27 | M26x1,5 | 14 | 14 | 14,5 | 33,5 | 53,5 | 27 | 32 | 0,08 | GEVM 18 | GEVM 18 daxs | |
| L | 420 | 18 | M26x1,5 | 31 | M26x1,5 | 15 | 16 | 16,5 | 35,5 | 55,5 | 32 | 32 | 0,122 | GEGM 18 | GEGM 18 daxs | |
| L | 250 | 22 | M22x1,5 | 27 | M30x2,0 | 14 | 14 | 18,5 | 36,5 | 57,5 | 32 | 36 | 0,115 | GERM 22 | GERM 22 daxs | |
| L | 250 | 22 | M26x1,5 | 31 | M30x2,0 | 18 | 16 | 16,5 | 35 | 55,5 | 32 | 36 | 0,105 | GEVM 22 | GEVM 22 daxs | |
| L | 250 | 22 | M33x2,0 | 39 | M30x2,0 | 19 | 18 | 19,5 | 38 | 59 | 41 | 36 | 0,212 | GEGM 22 | GEGM 22 daxs | |
| L | 250 | 28 | M26x1,5 | 31 | M36x2,0 | 18 | 16 | 19,5 | 39 | 62,5 | 41 | 41 | 0,18 | GERM 28 | GERM 28 daxs | |
| L | 250 | 28 | M33x2,0 | 39 | M36x2,0 | 23 | 18 | 17,5 | 37 | 60,5 | 41 | 41 | 0,177 | GEVM 28 | GEVM 28 daxs | |
| L | 250 | 28 | M42x2,0 | 49 | M36x2,0 | 24 | 20 | 21,5 | 41 | 64,5 | 50 | 41 | 0,365 | GEGM 28 | GEGM 28 daxs | |
| L | 250 | 35 | M33x2,0 | 39 | M45x2,0 | 23 | 18 | 19,5 | 44 | 70,5 | 46 | 50 | 0,27 | GERM 35 | GERM 35 daxs | |
| L | 250 | 35 | M42x2,0 | 49 | M45x2,0 | 30 | 20 | 17,5 | 42 | 68,5 | 50 | 50 | 0,292 | GEVM 35 | GEVM 35 daxs | |
| L | 250 | 35 | M48x2,0 | 55 | M45x2,0 | 30 | 22 | 21,5 | 46 | 72,5 | 55 | 50 | 0,476 | GEGM 35 | GEGM 35 daxs | |
| L | 250 | 42 | M33x2,0 | 39 | M52x2,0 | 23 | 18 | 21 | 45,5 | 72 | 55 | 60 | 0,386 | GERM 421 | GERM 421 daxs | |
| L | 250 | 42 | M42x2,0 | 49 | M52x2,0 | 30 | 20 | 21 | 45,5 | 72 | 55 | 60 | 0,405 | GERM 42 | GERM 42 daxs | |
| L | 250 | 42 | M48x2,0 | 55 | M52x2,0 | 36 | 22 | 19 | 43,5 | 70 | 55 | 60 | 0,376 | GEVM 42 | GEVM 42 daxs | |
| S | 800 | 10 | M14x1,5 | 19 | M18x1,5 | 5 | 12 | 15 | 32,5 | 48,5 | 19 | 22 | 0,048 | GERM 10 | GERM 10 daxs | |
| S | 800 | 10 | M16x1,5 | 21 | M18x1,5 | 7 | 12 | 15 | 32,5 | 48,5 | 22 | 22 | 0,056 | GEVM 10 | GEVM 10 daxs | |
| S | 800 | 10 | M18x1,5 | 23 | M18x1,5 | 7 | 12 | 16 | 33,5 | 49,5 | 24 | 22 | 0,059 | GEGM 10 | GEGM 10 daxs | |
| S | 800 | 12 | M16x1,5 | 21 | M20x1,5 | 7 | 12 | 14,5 | 32,5 | 48,5 | 22 | 24 | 0,059 | GERM 12 | GERM 12 daxs | |
| S | 630 | 12 | M18x1,5 | 23 | M20x1,5 | 8 | 12 | 17 | 35 | 51,5 | 24 | 24 | 0,075 | GEVM 12 | GEVM 12 daxs | |
| S | 630 | 12 | M22x1,5 | 27 | M20x1,5 | 8 | 14 | 17,5 | 35,5 | 51,5 | 27 | 24 | 0,095 | GEGM 12 | GEGM 12 daxs | |
| S | 630 | 16 | M16x1,5 | 21 | M24x1,5 | 7 | 12 | 17,5 | 38 | 59,5 | 27 | 30 | 0,086 | GERM 161 | GERM 161 daxs | |
| S | 630 | 16 | M18x1,5 | 23 | M24x1,5 | 8 | 12 | 18 | 38,5 | 60,5 | 27 | 30 | 0,105 | GERM 16 | GERM 16 daxs | |
| S | 630 | 16 | M22x1,5 | 27 | M24x1,5 | 12 | 14 | 18,5 | 39 | 60,5 | 27 | 30 | 0,102 | GEVM 16 | GEVM 16 daxs | |
| S | 630 | 16 | M27x2,0 | 32 | M24x1,5 | 12 | 16 | 20,5 | 41 | 62,5 | 32 | 30 | 0,151 | GEGM 16 | GEGM 16 daxs | |
| S | 630 | 16 | M33x2,0 | 39 | M24x1,5 | 12 | 18 | 22,5 | 43 | 64,5 | 41 | 30 | 0,252 | GEGM 161 | GEGM 161 daxs | |
| S | 630 | 20 | M18x1,5 | 23 | M30x2,0 | 8 | 12 | 20 | 44 | 66,5 | 32 | 36 | 0,15 | GERM 201 | GERM 201 daxs | |
| S | 630 | 20 | M22x1,5 | 27 | M30x2,0 | 12 | 14 | 20,5 | 44,5 | 67 | 32 | 36 | 0,155 | GERM 20 | GERM 20 daxs | |
| S | 420 | 20 | M27x2,0 | 32 | M30x2,0 | 15 | 16 | 20,5 | 44,5 | 67 | 32 | 36 | 0,167 | GEVM 20 | GEVM 20 daxs | |
| S | 420 | 20 | M33x2,0 | 39 | M30x2,0 | 15 | 18 | 22,5 | 46,5 | 69 | 41 | 36 | 0,269 | GEGM 20 | GEGM 20 daxs | |
| S | 420 | 20 | M42x2,0 | 49 | M30x2,0 | 15 | 20 | 24,5 | 48,5 | 71,5 | 50 | 36 | 0,44 | GEGM 201 | GEGM 201 daxs | |
| S | 420 | 25 | M22x1,5 | 27 | M36x2,0 | 12 | 14 | 23 | 50 | 77,5 | 41 | 46 | 0,26 | GERM 251 | GERM 251 daxs | |
| S | 420 | 25 | M27x2,0 | 32 | M36x2,0 | 15 | 16 | 23 | 50 | 77,5 | 41 | 46 | 0,272 | GERM 25 | GERM 25 daxs | |
| S | 420 | 25 | M33x2,0 | 39 | M36x2,0 | 19 | 18 | 23 | 50 | 77,5 | 41 | 46 | 0,291 | GEVM 25 | GEVM 25 daxs | |
| S | 420 | 25 | M42x2,0 | 49 | M36x2,0 | 19 | 20 | 25 | 52 | 79,5 | 50 | 46 | 0,5 | GEGM 25 | GEGM 25 daxs | |
| S | 420 | 25 | M48x2,0 | 55 | M36x2,0 | 19 | 22 | 26 | 53 | 80,5 | 55 | 46 | 0,572 | GEGM 251 | GEGM 251 daxs | |
| S | 420 | 30 | M27x2,0 | 32 | M42x2,0 | 15 | 16 | 24,5 | 53 | 82,5 | 46 | 50 | 0,362 | GERM 301 | GERM 301 daxs | |
| S | 420 | 30 | M33x2,0 | 39 | M42x2,0 | 19 | 18 | 24,5 | 53 | 82,5 | 46 | 50 | 0,382 | GERM 30 | GERM 30 daxs | |
| S | 420 | 30 | M42x2,0 | 49 | M42x2,0 | 24 | 20 | 24,5 | 52 | 81,5 | 50 | 50 | 0,455 | GEVM 30 | GEVM 30 daxs | |
| S | 420 | 30 | M48x2,0 | 55 | M42x2,0 | 24 | 22 | 26,5 | 55 | 84,5 | 55 | 50 | 0,64 | GEGM 30 | GEGM 30 daxs | |
| S | 420 | 30 | M60x2,0 | 70 | M42x2,0 | 24 | 24 | 30,5 | 59 | 88,5 | 70 | 50 | 0,977 | GEGM 301 | GEGM 301 daxs | |
| S | 420 | 38 | M33x2,0 | 39 | M52x2,0 | 19 | 18 | 26 | 58,5 | 91 | 55 | 60 | 0,581 | GERM 381 | GERM 381 daxs | |
| S | 420 | 38 | M42x2,0 | 49 | M52x2,0 | 24 | 20 | 26 | 58,5 | 91 | 55 | 60 | 0,63 | GERM 38 | GERM 38 daxs | |
| S | 420 | 38 | M48x2,0 | 55 | M52x2,0 | 30 | 22 | 26 | 58,5 | 91 | 55 | 60 | 0,634 | GEVM 38 | GEVM 38 daxs | |
| S | 420 | 38 | M50x2,0 | 60 | M52x2,0 | 30 | 24 | 27,5 | 60 | 92,5 | 60 | 60 | 0,78 | GEGM 38 | GEGM 38 daxs | |
| S | 420 | 38 | M60x2,0 | 70 | M52x2,0 | 30 | 24 | 30 | 62,5 | 95 | 70 | 60 | 1,025 | GEGM 381 | GEGM 381 daxs | |
| S | 420 | 50 | M48x2,0 | 55 | M68x2,0 | 30 | 22 | 31 | 70,5 | 99,5 | 70 | 80 | 1,13 | GERM 501 | GERM 501 daxs | |
| S | 420 | 50 | M50x2,0 | 60 | M68x2,0 | 33 | 22 | 31,5 | 71 | 100 | 70 | 80 | 1,135 | GERM 50 | GERM 50 daxs | |
| S | 420 | 50 | M60x2,0 | 70 | M68x2,0 | 40 | 24 | 32 | 71,5 | 100,5 | 70 | 80 | 1,16 | GEVM 50 | GEVM 50 daxs | |
Auch mit zylindrischem Whitworth Rohrgewinde nach ISO 1179-4 (Typ GE.) erhältlich. Metrische Einschraubzapfen werden zur Identifikation mit einer umlaufenden Kerbe gekennzeichnet.
Also available with cylindrical Whitworth pipe thread to ISO 1179-4 (type GE.) Metric stud ends are marked with a circumferential groove for identification.


